Размер шрифта
Цвет фона и шрифта
Изображения
Озвучивание текста
Обычная версия сайта
МПО ПРОМЕТЕЙ
Работаем для Вас
уже более 5 лет!
7 (922) 178-81-77
7 (922) 178-81-77
8(800)550-83-35
E-mail
zakaz@mpo-prometey.ru
info@mpo-prometey.ru
Адрес
г. Казань, ул. Копылова, 3/1
Режим работы
Пн. – Пт.: с 9:00 до 18:00
Каталог
  • Дорожные металлические трубы
    • Трубы ЛМГ (МГК)
    • Спиральновитые трубы (ГСМТ)
    • Гофрированные арки
  • Барьерные дорожные ограждения
    • Дорожные ограждения 11ДО
    • Дорожные ограждение 11ДД
    • Мостовые ограждения 11МО
    • Тросовое ограждение 23ДД
  • Пешеходное ограждение
  • Опоры освещения металлические
    • Несиловые опоры освещения
    • Силовые опоры освещения
Услуги
  • Строительно-монтажные работы
    • Установка пешеходного ограждения
    • Защитное покрытие металлоконструкций
    • Монтаж гофрированных труб
  • Установка барьерного ограждения
  • Инженерное сопровождение
  • Инженерный расчет
Калькулятор
Доставка и оплата
О предприятии
  • О предприятии
  • Благодарственные письма
  • Вакансии
  • ГОСТы и техническая документация
  • Реквизиты
  • Статьи
  • Новости
Фотогалерея
Контакты
Казань
Казань
г. Казань, ул. Копылова, 3/1
Пн. – Пт.: с 9:00 до 18:00; Сб. – Вс.: выходные
zakaz@mpo-prometey.ru
7 (922) 178-81-77
7 (922) 178-81-77
8(800)550-83-35
E-mail
zakaz@mpo-prometey.ru
info@mpo-prometey.ru
Адрес
г. Казань, ул. Копылова, 3/1
Режим работы
Пн. – Пт.: с 9:00 до 18:00
+7 (922) 178-81-77
Заказать звонок
МПО ПРОМЕТЕЙ
Работаем для Вас
уже более 5 лет!
Каталог
  • Дорожные металлические трубы
    Дорожные металлические трубы
    • Трубы ЛМГ (МГК) —
    • Спиральновитые трубы (ГСМТ) —
    • Гофрированные арки
  • Барьерные дорожные ограждения
    Барьерные дорожные ограждения
    • Дорожные ограждения 11ДО —
    • Дорожные ограждение 11ДД —
    • Мостовые ограждения 11МО —
    • Тросовое ограждение 23ДД
  • Пешеходное ограждение
    Пешеходное ограждение
  • Опоры освещения металлические
    Опоры освещения металлические
    • Несиловые опоры освещения —
    • Силовые опоры освещения
Услуги
  • Строительно-монтажные работы
    Строительно-монтажные работы
    • Установка пешеходного ограждения —
    • Защитное покрытие металлоконструкций —
    • Монтаж гофрированных труб
  • Установка барьерного ограждения
    Установка барьерного ограждения
  • Инженерное сопровождение
    Инженерное сопровождение
  • Инженерный расчет
    Инженерный расчет
Калькулятор
Доставка и оплата
О предприятии
  • О предприятии
  • Благодарственные письма
  • Вакансии
  • ГОСТы и техническая документация
  • Реквизиты
  • Статьи
  • Новости
Фотогалерея
Контакты
    МПО ПРОМЕТЕЙ
    Каталог
    • Дорожные металлические трубы
      Дорожные металлические трубы
      • Трубы ЛМГ (МГК) —
      • Спиральновитые трубы (ГСМТ) —
      • Гофрированные арки
    • Барьерные дорожные ограждения
      Барьерные дорожные ограждения
      • Дорожные ограждения 11ДО —
      • Дорожные ограждение 11ДД —
      • Мостовые ограждения 11МО —
      • Тросовое ограждение 23ДД
    • Пешеходное ограждение
      Пешеходное ограждение
    • Опоры освещения металлические
      Опоры освещения металлические
      • Несиловые опоры освещения —
      • Силовые опоры освещения
    Услуги
    • Строительно-монтажные работы
      Строительно-монтажные работы
      • Установка пешеходного ограждения —
      • Защитное покрытие металлоконструкций —
      • Монтаж гофрированных труб
    • Установка барьерного ограждения
      Установка барьерного ограждения
    • Инженерное сопровождение
      Инженерное сопровождение
    • Инженерный расчет
      Инженерный расчет
    Калькулятор
    Доставка и оплата
    О предприятии
    • О предприятии
    • Благодарственные письма
    • Вакансии
    • ГОСТы и техническая документация
    • Реквизиты
    • Статьи
    • Новости
    Фотогалерея
    Контакты
      Казань
      7 (922) 178-81-77
      8(800)550-83-35
      E-mail
      zakaz@mpo-prometey.ru
      info@mpo-prometey.ru
      Адрес
      г. Казань, ул. Копылова, 3/1
      Режим работы
      Пн. – Пт.: с 9:00 до 18:00
      МПО ПРОМЕТЕЙ
      Телефоны
      7 (922) 178-81-77
      8(800)550-83-35
      E-mail
      zakaz@mpo-prometey.ru
      info@mpo-prometey.ru
      Адрес
      г. Казань, ул. Копылова, 3/1
      Режим работы
      Пн. – Пт.: с 9:00 до 18:00
      МПО ПРОМЕТЕЙ
      • Каталог
        • Каталог
        • Дорожные металлические трубы
          • Дорожные металлические трубы
          • Трубы ЛМГ (МГК)
          • Спиральновитые трубы (ГСМТ)
          • Гофрированные арки
        • Барьерные дорожные ограждения
          • Барьерные дорожные ограждения
          • Дорожные ограждения 11ДО
          • Дорожные ограждение 11ДД
          • Мостовые ограждения 11МО
          • Тросовое ограждение 23ДД
        • Пешеходное ограждение
        • Опоры освещения металлические
          • Опоры освещения металлические
          • Несиловые опоры освещения
            • Несиловые опоры освещения
            • Опора несиловая фланцевая граненая НФГ
            • Опоры освещения граненые коническая ОГК
          • Силовые опоры освещения
            • Силовые опоры освещения
            • Опоры граненные силовые ОГС
            • Опоры силовые фланцевые граненые СФГ
      • Услуги
        • Услуги
        • Строительно-монтажные работы
          • Строительно-монтажные работы
          • Установка пешеходного ограждения
          • Защитное покрытие металлоконструкций
          • Монтаж гофрированных труб
        • Установка барьерного ограждения
        • Инженерное сопровождение
        • Инженерный расчет
      • Калькулятор
      • Доставка и оплата
      • О предприятии
        • О предприятии
        • О предприятии
        • Благодарственные письма
        • Вакансии
        • ГОСТы и техническая документация
        • Реквизиты
        • Статьи
        • Новости
      • Фотогалерея
      • Контакты
      • Казань
        • Города
        • Астрахань
        • Барнаул
        • Белгород
        • Владивосток
        • Владикавказ
        • Волгоград
        • Воронеж
        • Екатеринбург
        • Иваново
        • Иркутск
        • Казань
        • Калининград
        • Краснодар
        • Красноярск
        • Москва
        • Нижний Новгород
        • Новосибирск
        • Новый Уренгой
        • Омск
        • Пермь
        • Ростов-на-Дону
        • Рязань
        • Самара
        • Санкт-Петербург
        • Саратов
        • Севастополь
        • Симферополь
        • Сочи
        • Тверь
        • Тюмень
        • Ульяновск
        • Уфа
        • Хабаровск
        • Челябинск
        • Якутск
        • Ярославль
      • 7 (922) 178-81-77
        • Телефоны
        • 7 (922) 178-81-77
        • 8(800)550-83-35
      • г. Казань, ул. Копылова, 3/1
      • zakaz@mpo-prometey.ru
        info@mpo-prometey.ru
      • Пн. – Пт.: с 9:00 до 18:00

      Барьерные ограждения 11ДО

      Главная
      —
      Продукты
      —
      Металлические барьерные дорожные ограждения
      —Барьерные ограждения 11ДО
      Фильтр
      По популярности (возрастание)
      По наименованию (А-Я)
      По наименованию (Я-А)
      По популярности (возрастание)
      По популярности (убывание)
      По цене (сначала дешёвые)
      По цене (сначала дорогие)
      Фильтр
      Статус
      Показать:
      Выбрано: 0 Показать
      Выбрано: 0
      ГОСТ
      26804-2012
      Покрытие
      гор.цинк.
      СТО
      35427189-001-2019
      Шаг стойки, м
      4
      Дорожное ограждение 11ДО-4-130 кДж У1
      Дорожные ограждения 11ДО
      Дорожное ограждение 11ДО-4-130 кДж У1
      В наличии
      ГОСТ
      26804-2012
      Покрытие
      350
      СТО
      35427189-001-2019
      Шаг стойки, м
      3
      Дорожное ограждение 11ДО-3-350 кДж У5
      Дорожные ограждения 11ДО
      Дорожное ограждение 11ДО-3-350 кДж У5
      В наличии
      ГОСТ
      26804-2012
      Покрытие
      гор.цинк.
      СТО
      35427189-001-2019
      Шаг стойки, м
      3
      Дорожное ограждение 11ДО-3-130 кДж У1
      Дорожные ограждения 11ДО
      Дорожное ограждение 11ДО-3-130 кДж У1
      В наличии
      ГОСТ
      26804-2012
      Покрытие
      гор.цинк.
      СТО
      35427189-001-2019
      Шаг стойки, м
      2,5
      Дорожное ограждение 11ДО-2,5-190 кДж У2
      Дорожные ограждения 11ДО
      Дорожное ограждение 11ДО-2,5-190 кДж У2
      В наличии
      ГОСТ
      26804-2012
      Покрытие
      гор.цинк.
      СТО
      35427189-001-2019
      Шаг стойки, м
      3
      Дорожное ограждение 11ДО-2-500 кДж У8
      Дорожные ограждения 11ДО
      Дорожное ограждение 11ДО-2-500 кДж У8
      В наличии
      ГОСТ
      26804-2012
      Покрытие
      гор.цинк.
      СТО
      35427189-001-2019
      Шаг стойки, м
      2
      Дорожное ограждение 11ДО-2-450 кДж У7
      Дорожные ограждения 11ДО
      Дорожное ограждение 11ДО-2-450 кДж У7
      В наличии
      ГОСТ
      26804-2012
      Покрытие
      гор.цинк.
      СТО
      35427189-001-2019
      Шаг стойки, м
      2
      Дорожное ограждение 11ДО-2-250 кДж У3
      Дорожные ограждения 11ДО
      Дорожное ограждение 11ДО-2-250 кДж У3
      В наличии
      ГОСТ
      26804-2012
      Покрытие
      гор.цинк.
      СТО
      35427189-001-2019
      Шаг стойки, м
      2
      Дорожное ограждение 11ДО-2-190 кДж У2
      Дорожные ограждения 11ДО
      Дорожное ограждение 11ДО-2-190 кДж У2
      В наличии
      ГОСТ
      26804-2012
      Покрытие
      гор.цинк.
      СТО
      35427189-001-2019
      Шаг стойки, м
      1,5
      Дорожное ограждение 11ДО-1,5-300 кДж У4
      Дорожные ограждения 11ДО
      Дорожное ограждение 11ДО-1,5-300 кДж У4
      В наличии
      ГОСТ
      26804-2012
      Покрытие
      гор.цинк.
      СТО
      35427189-001-2019
      Шаг стойки, м
      1
      Дорожное ограждение 11ДО-1-450 кДж У7
      Дорожные ограждения 11ДО
      Дорожное ограждение 11ДО-1-450 кДж У7
      В наличии
      1 2 3

      Автомобильные дороги общего назначения по ГОСТ 26804-2012 необходимо обустраивать конструкциями безопасности, на обочинах – это дорожные ограждения 11ДО. Односторонние металлоконструкции направляют транспортный поток, чем минимизируют выезд машин за пределы автотрассы. Сборно-разборные изделия поставляются отдельными деталями в комплекте: стойки, балки, светоотражатели, набор крепежей, обычные или амортизирующие консоли.

      Разновидности дорожных ограждений этого вида

      Металлоконструкции производятся в ассортименте, чтобы правильно купить 11ДО для конкретного участка автомагистрали нужно рассматривать такие параметры:

      • Тип. Односторонние или двухсторонние, одноярусные или двухъярусные.
      • Расчетные нагрузки. От 130 до 560 кДж.
      • Расстояние между опорами. От 1 до 4 метров.

      Для каждого вида предусмотрены комплекты из участков: начальный 11ДО-Н и конечный – 11ДО-K с шагом стоек 2 метра, длиной в 12 метров, рабочий 11ДО-S – для остальной дистанции. Все детали комплектов дорожных ограждений оцинкованы, что обеспечивает высокую степень защиты от коррозии, большой срок службы – не менее 50 лет. Металлоконструкции требуют техобслуживания, регламенты и перечни работ определяет СТО 35427189-001-2019.

      Преимущества 11ДО:

      • прочность, жесткость, надежность, эффективность функционала;
      • быстрый, технологичный монтаж;
      • стойкость к негативным воздействиям: осадкам, температурам, их перепадам, дорожным реагентам, УФ-излучению;
      • создание безопасности на автомобильных дорогах любого протяженности.

      Преимущества МПО «Прометей»

      Наше предприятие изготавливает, поставляет, устанавливает металлические конструкции на автомобильных дорогах любого статуса. Мы предлагаем организациям и частным заказчикам Татарстана купить дорожные ограждения 11ДО на выгодных условиях: большой выбор, типовая или специальная комплектация, цены – низкие, от производителя, на складе всегда значительные объемы продукции – можем оперативно отработать крупный заказ, удобные форматы оплаты, доставка по всей республике. У нас можно заказать монтаж металлоконструкций на дорожном участке любой протяженности. Монтажные бригады выполняют работы согласно регламентам, включая безопасность, качественно, оперативно, с длительными гарантиями. 

      Калькулятор барьерных ограждений


      Ограждения дорожные 11ДО с жесткими консолями
      Обозна-чение марки Высота ограж-дения , м Уровень удерживающей способности Сечение стойки - швеллер Толщина листа балки , мм Шаг стоек , м Прогиб динамический , м Заглубление стоек в грунт, (минимальное), м
      11-ДО 0,75 У1 N 12 3 2,0 1,50 1,10
      N 14* 4,0 1,50 1,10
      N 12 4 2,5 1,50 1,10
      N 14 3,0 1,50 1,10
      У2 N 12 3 1,5 1,50 1,10
      N 14* 2,0 1,25 1,10
      N 16 2,5 1,25 1,10
      N 14 4 2,0 1,25 1,10
      N 16** 4,0 1,50 1,10
      У3 N 14* 3 1,33 1,50 1,20
      N 16** 2,0 1,50 1,20
      N 12 4 1,0 1,50 1,10
      N 14* 1,5 1,25 1,10
      N 16** 2,0 1,0 1,10
      У4 N 16** 3 1,5 1,00 1,20
      N 14* 4 1,0 1,25 1,10
      N 16** 2,0 1,10 1,10

      * Могут быть применены стойки из гнутого С-образного профиля 12055185 мм по ГОСТ 8282.*

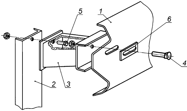
      1 - балка; 2 - стойка; 3 - консоль жесткая; 4 - болт М1645.5.8; 5 - болт М1630.5.8; 6 - шайба 80404 мм
      Рисунок 1 - Одностороннее дорожные ограждение с жесткой консолью.

      Односторонние дорожные ограждения с консолями-амортизаторами
      Обозначение марки Высота ограждения , м Уровень удерживающей способности Сечение стойки - двутавр Толщина листа балки , мм Шаг стоек , м Прогиб динамический , м Эскиз
      11-ДО 0,75 У1 N 12 3 2,5 1,0 Барьерные ограждения
      N 12 4 3,0 1,25 Барьерные ограждения
      У2 N 12 3 1,5 1,0 Барьерные ограждения
      N 12 4 2,0 1,0 Барьерные ограждения
      N 14 2,5 1,25 Барьерные ограждения
      У3 N 12 3 1,0 1,0 Барьерные ограждения
      N 12 4 1,0 1,0
      N 14 2,0 1,0 Барьерные ограждения
      У4 N 14 4 1,0 1,0 Барьерные ограждения
      • Дорожные металлические трубы
        • Трубы ЛМГ (МГК)
        • Спиральновитые трубы (ГСМТ)
        • Гофрированные арки
      • Барьерные дорожные ограждения
        • Дорожные ограждения 11ДО
        • Дорожные ограждение 11ДД
        • Мостовые ограждения 11МО
        • Тросовое ограждение 23ДД
      • Пешеходное ограждение
      • Опоры освещения металлические
        • Несиловые опоры освещения
          • Опора несиловая фланцевая граненая НФГ
          • Опоры освещения граненые коническая ОГК
        • Силовые опоры освещения
          • Опоры граненные силовые ОГС
          • Опоры силовые фланцевые граненые СФГ
      Компания
      О предприятии
      Благодарственные письма
      Вакансии
      ГОСТы и техническая документация
      Реквизиты
      Статьи
      Новости
      Каталог
      Дорожные металлические трубы
      Барьерные дорожные ограждения
      Пешеходное ограждение
      Опоры освещения металлические
      Услуги
      Строительно-монтажные работы
      Установка барьерного ограждения
      Инженерное сопровождение
      Инженерный расчет
      Офис: г. Екатеринбург,
ул. Высоцкого, 4б, оф. 24
      Производство: г. Екатеринбург, ул. Цвиллинга, дом 7ч
      Часы работы:
      Пн. – Пт.: с 9:00 до 18:00
      Сб. – Вс.: выходные
      7 (922) 178-81-77
      7 (922) 178-81-77
      8(800)550-83-35
      Режим работы
      Пн. – Пт.: с 9:00 до 18:00
      zakaz@mpo-prometey.ru
      info@mpo-prometey.ru
      Доставка и оплата
      Сертификаты
      Реквизиты
      Контакты
      © 2026 "mpo-prometey.ru"
      Все права защищены.
      Политика конфиденциальности
      Карта сайта
      Разработка и продвижение сайта
      Калькулятор
      Главная Каталог Услуги Контакты